Stellantis专利:电动汽车排气系统降低电池起火风险

发布时间:2024-10-03 16:46:03     人气: 245     来源:锐眼车盟

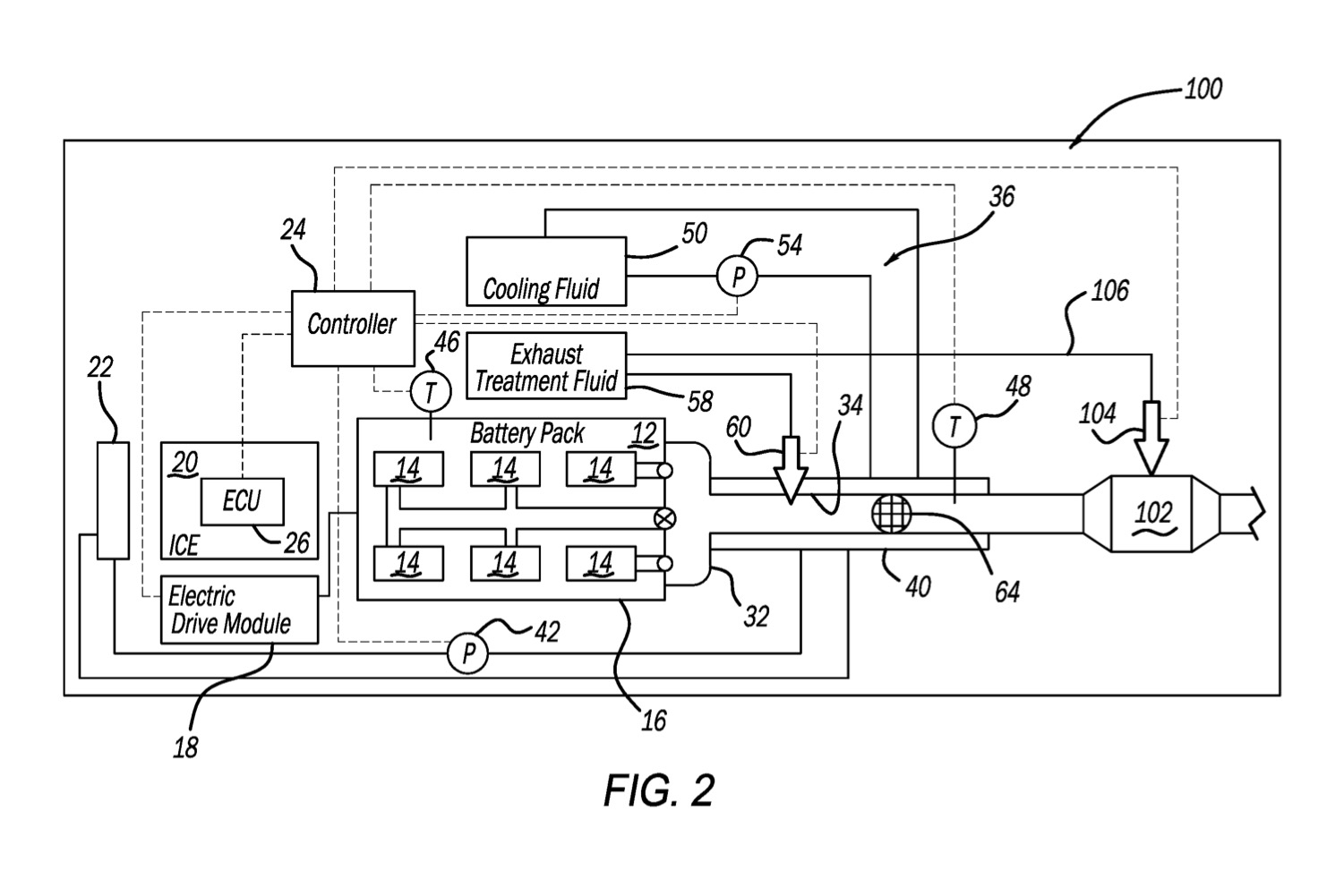
锐眼车盟讯 汽车排气系统的主要功能是排除内燃机产生的废气,因此在电动汽车领域,这类系统似乎显得多余。然而,Stellantis公司持有不同看法。据外媒报道,该公司最近向美国专利商标局(United States Patent and Trademark Office,USPTO)提交了一份专利申请,内容涉及电动汽车的排气系统。Stellantis公司声称,该系统能够预防电动汽车(EV)电池的起火风险,或者在电池受损的情况下,限制损害的扩散。

电动汽车排气系统专利图(图片来源:Stellantis)

    标签arclist报错:指定属性 typeid 的栏目ID不存在。